

LKUTD-HS系列電動浮筒式液位計概述:
LKUTD-HS型電動浮筒式液位計是我廠吸取了國外先進液位測量技術而開發研制的新型電動液位測量儀表。它適用于石油、化工、電力、冶金等行業的各種常壓和壓力容器內液位的連續測量。其輸出是與液位變化成比例的4~20mA直流電信號,與顯示表、記錄儀、調節器、計算機配套使用,實現工藝生產過程的液位測量與控制。
電動浮筒式液位計結構原理及特點
液位計基于力平衡原理設計制造,由檢測和變送兩部分組成。檢測部分,浮筒感受液位的變化,通過杠桿、軸封膜片支點傳遞給箔電阻應變式測力傳感器并產生力平衡;變送部分將電橋的不平衡電流放大為二線制4~20mA直流電流信號輸出。
應變式測力傳感器和變送部分位于變送器表殼體內,并設有調零、調滿電位器,便于調整電器零點與量程。調整遷移彈簧初始位置螺釘,可以調整機械零點。
變送器取消了電動III型儀表的矢量機構及電磁反饋系統,從而使結構更為簡化,機械位移小,提高了變送器的可靠性、測量精度和靈敏度,便于現場調試、檢修和維護。
訂貨須知
1、產品型號、名稱、測量范圍、安裝方式
2、浮筒室材質要求(普通鋼或不銹鋼),對于強腐蝕性介質,訂貨時面議
3、被測介質工作壓力
4、被測介質密度和密度差
5、備品備件要求
電動浮筒式液位計主要技術參數
·測量精度:±0.5%、±1%、±1.5%
·靈敏度:≤0.05%
·環境溫度:-20℃~70℃
·相對濕度:≤95%
·供電電源:DC24V±10%
·輸出信號:DC4~20Ma(二線制)。
·負載電阻:0~500Ω
·介質溫度:普通型≤150℃
高溫型≤350℃
·工作壓力:≤6.4MPa。
·測量范圍:液位300~3000mm
界面300~800mm
·介質密度:0.4~1.6g/cm3
·介質密度差:≥0.2g/cm3
·防爆等級:ExdiaIICT6(本安隔爆型)
最大開路電壓:DC 30V
最大短路電流:DC 30mA

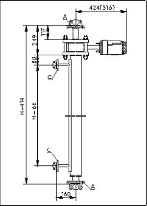
電浮筒液位變送器結構圖
前一個產品:保溫夾套型磁翻板液位計
下一個產品:投入式液位計
版權所有 Copyright(©)2009-2011 江蘇力科儀表有限公司
電話號碼:0517-86909222 商務熱線:15305232668 傳真:0517-86909221
地址:江蘇省金湖縣工業園
技術支持:易品網站建設專家 蘇ICP備13047422號-1